Встроенная калитка и остекление
Подробности и цены Вы можете узнать по тел.:
+7 (499) 391-24-49
Для удобства и комфорта мы предлагаем установить в промышленные и гаражные секционные ворота встроенную калитку. Калитка открывается только наружу и может иметь правое и левое исполнение. Калитка комплектуется врезным замком с комплектом ключей и регулируемыми петлями. Для удобства закрывания калитка комплектуется доводчиком. Минимально возможная ширина изготовления ворот с встроенной калиткой 1850 мм. Начиная с высоты 2135 мм калитка может применятся на гаражных и промышленных воротах.
На рисунке представлены размеры встраиваемой калитки:

|
Диапазон размеров по высоте ворот, мм |
Н, мм |
Н1, мм |
Н2, мм |
А, мм |
Артикул окна, возможного к применению |
|
2135…2255 |
1835 |
915 |
1662 |
925 |
2380 |
|
2260…2670 |
1960 |
1725 |
2380, 2445, 2397 |
||
|
2675…2755 |
1835 |
1662 |
2380 |
||
|
>2760 |
1960 |
1725 |
2380, 2445, 2397 |
||
|
- |
1710 |
835 |
1600 |
2380 |
Калитка может быть встроена в полотно секционных ворот по центру или сбоку. При расположении калитки сбоку левая или правая сторона расположения определяется при взгляде с наружной стороны ворот. Возможность расположения калитки по центру или сбоку зависит от ширины полотна ворот, а также от принятой схемы остекления. Если необходимо установить окно в калитку, то это возможно только в третью панель снизу. Место расположения калитки на воротах со схемой остекления, предусматривающей максимальное количество окон в одной панели, определяется по следующей таблице:
|
Размерный диапазон по ширине ворот, мм |
Максимальное кол-во окон в панели |
Возможное место расположения калитки |
Схема расположения |
|
до 2945 |
1 |
по центру полотна ворот |
|
|
2950…3845 |
3 |
по центру полотна ворот |
|
|
3850…4745 |
4 |
сбоку полотна ворот (слева или справа) |
|
|
5650…6545 |
6 |
||
|
4750…5645 |
5 |
по центру или сбоку полотна ворот (слева или справа) |
|
|
>6550 |
7 |
|
Во многих производственных помещениях, автомойках, складских комплексах и других помещений есть необходимость установки остекления в секционные ворота, так как оно дает возможность визуального просмотра и обеспечивает естественное освещение. В замкнутых помещениях, где отсутствуют оконные рамы, остекление в гаражных и промышленных воротах просто необходимо. Существуют ограничения по применению остекления: в нижней и верхней панели остекление не устанавливается; при расположении ригельного замка во второй снизу панели остекление в ней не выполняется; остекление выполняется симметрично относительно вертикальной оси полотна.
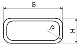
На рисунке представлена схема расположения и размеры окон:

|
Артикул окна |
А, мм |
В, мм |
H, мм |
R, мм |
С, мм |
D, мм |
Изображение |
|
2380 |
1420 |
607 |
176 |
50 |
250 |
250 |
|
|
2445 |
1460 |
650 |
345 |
- |
|
||
|
2397 |
1450 |
640 |
320 |
50 |
|











